Northwest Kiteboarding
Forum | Classifieds | Lost & Found | CGKA | Industry | Sensors | Forecast | Spots | Seattle | Decals | RSS | Facebook

Events | Photos | Search | Register | Profile | Log in to check your messages | Log in 

Groundboard Session at Chinook Landing
Page 1, 2, 3  Next
 
Post new topic   Reply to topic    Northwest Kiteboarding -> Gorge / Portland / Oregon Coast
previous topic :: next topic  
Author Message
Gman

Since 11 Feb 2006
4912 Posts
Portland
Unstrapped



PostSun Jan 20, 08 3:42 pm    Groundboard Session at Chinook Landing Reply with quote

Heading out to Marine Dr & 223rd to Chinook Landing - should be good.

View user's profile Send private message
stringer

Since 31 Jul 2007
694 Posts
Chucktown
Flying Tomato



PostSun Jan 20, 08 3:57 pm     Reply with quote

Is chinook landing lit very well after dark?
I was thinking about hitting up the airport after work about 6:30.
Let me know how it is.

View user's profile Send private message Visit poster's website
Gman

Since 11 Feb 2006
4912 Posts
Portland
Unstrapped



PostSun Jan 20, 08 8:53 pm     Reply with quote

No lights at Chinook Landing and they want you out by sunset - did look like they lock the gate.

The wind was total crap - 0 to 25 - did manage to retain all my teeth - the longboard is super fun just tooling around the lot sans kite.

I think 25 may be too much for the B3 on the concrete or the punchy wind was impossible...

Any tricks for setting up and solo relaunching on the concrete - seemed like the kite was getting worked.

View user's profile Send private message
FlyDunes

Since 09 Oct 2007
1034 Posts
Aloha
XTreme Poster



PostSun Jan 20, 08 9:33 pm     Reply with quote

Gman wrote:

Any tricks for setting up and solo relaunching on the concrete ....


Yep, get a 4-line foil on handles (not a sheetable foil). Simple to self-launch/relaunch, no hassle. And a LOT more control and fun than a two line.

Also, you should try ground boarding on hard-pack sand sometime. Fun and less risk of road rash than kiting on concrete.

PM me for my cell # and call me next time you are headed for the coast. I have a ton of 4-line foils, 3 buggies and a couple of ground boards. I'll let you try some out if I'm around.

Or hook up with Eli Anderson at Above It all Kites in Seaside and tell him you want to demo a 4-line kite. Tell him you want to try an Ozone Yakuza. They're the shit Smile.

_________________
Lets FLY

View user's profile Send private message Visit poster's website
Gman

Since 11 Feb 2006
4912 Posts
Portland
Unstrapped



PostMon Jan 21, 08 12:31 am     Reply with quote

Very cool. Thx

View user's profile Send private message
chanson

Since 31 Jan 2006
1874 Posts
WISCONSIN
Chimey



PostMon Jan 21, 08 9:44 am     Reply with quote

My windwing has 2 lines connected to the back of the kite for reverse re-launch....it really helps from not sliding across the pavement to get to the edge of window for regular re-launch. kinda gets in the way when looping and rigging....but I figured it was worth it to keep it on for the reverse re-launch. and it def is Wink
_________________
Shallow Dive Design, 2nd Wind Sports, Airush, Trident Sports

View user's profile Send private message
stringer

Since 31 Jul 2007
694 Posts
Chucktown
Flying Tomato



PostMon Jan 21, 08 10:27 am     Reply with quote

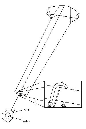
This is how I usually set up.
It prevents the kite from getting slack and balling up, which is my biggest problem with launching the trainer.
I believe you can get actual third line conversion kits for the b3, so you don't have to be as ghetto-riffic as me.
Also, this way the kite will depower when you bail.

Is anyone planning on heading out to the airport today?
If so, when?
It was alot of fun last night.


   kite setup.JPG 

View user's profile Send private message Visit poster's website
chanson

Since 31 Jan 2006
1874 Posts
WISCONSIN
Chimey



PostMon Jan 21, 08 10:37 am     Reply with quote

Quote:
Is anyone planning on heading out to the airport today?
If so, when?
It was alot of fun last night.


I'd love to go out....I will try and round up Tony and Blake...
I will be on camera duty.. It's F-ing cold though!! Wink

_________________
Shallow Dive Design, 2nd Wind Sports, Airush, Trident Sports

View user's profile Send private message
chanson

Since 31 Jan 2006
1874 Posts
WISCONSIN
Chimey



PostMon Jan 21, 08 12:22 pm     Reply with quote

Quote:
Portland Int 11:53am EAST 18g23 12 21g26 20g25 16g24 16g24



looks good! Razz

_________________
Shallow Dive Design, 2nd Wind Sports, Airush, Trident Sports

View user's profile Send private message
stringer

Since 31 Jul 2007
694 Posts
Chucktown
Flying Tomato



PostMon Jan 21, 08 1:14 pm    skating today Reply with quote

I'm shooting for 2:30ish
I have to finish painting a room first.
Hopefully I'll see you guys out there Cool

View user's profile Send private message Visit poster's website
Kraemer

Since 24 Apr 2006
1736 Posts
Sky Pilot
Unicorn Captain



PostMon Jan 21, 08 1:29 pm     Reply with quote

I guess you don't recall those (16) crashes that were edited out.....

http://www.eclipsefilms.com/movies/Gman.mov

View user's profile Send private message
Gman

Since 11 Feb 2006
4912 Posts
Portland
Unstrapped



PostMon Jan 21, 08 1:54 pm     Reply with quote

Kraemer wrote:
I guess you don't recall those (16) crashes that were edited out.....

http://www.eclipsefilms.com/movies/Gman.mov


Blessed with selective amnesia.

I sprained my back almost a month ago in Mexico - still works but tweaked - so I went to the PT today and he has me working on these little micro stretches - and all I can I think is one good slam on the pavement should set it straight just like Dr Homer's Miracle Spine-O-Cylinder

View user's profile Send private message
chanson

Since 31 Jan 2006
1874 Posts
WISCONSIN
Chimey



PostMon Jan 21, 08 6:24 pm     Reply with quote

Good time tonight...

Stringer-nice job greasn' the rail..

Twisted Evil

Everyone else-nice job rippin' Twisted Evil

Everyone not there.....-come out next time Wink

-wish I could be ripping too.


   bryan toeside.JPG 
   cruising.JPG 
   crowded night.JPG 
   Gman round the corner.JPG 
   tony moon.JPG 
   stringerrrrrr.JPG 
   moving photo.JPG 
   KEv.JPG 
   stringer.JPG 

_________________
Shallow Dive Design, 2nd Wind Sports, Airush, Trident Sports

Last edited by chanson on Mon Jan 21, 08 6:43 pm; edited 1 time in total

View user's profile Send private message
stringer

Since 31 Jul 2007
694 Posts
Chucktown
Flying Tomato



PostMon Jan 21, 08 6:42 pm     Reply with quote

Sweet pics Jake Thumb's Up
Quote:
Everyone not there.....-come out next time Wink

I agree.
cough...blake...cough
Its a lot of fun, and there's plenty of parking lot to shred!!

View user's profile Send private message Visit poster's website
Kataku2k3

Since 14 Aug 2005
3755 Posts
PDX-LA
Videographer



PostMon Jan 21, 08 7:16 pm     Reply with quote

Nice pics!

SS does make a "Ready Relaunch kit" for the B2 and B3 - http://buyslingshotsports.com/s.nl/sc.2/category.4214/.f

I've got my custom version of it setup on my B3, but it's hard to get dialed in front of my house... Laughing


Tucker sports his Slingy hoody skate kiting too!
 Tucker sports his Slingy hoody skate kiting too!  Tucker.jpg 

Last edited by Kataku2k3 on Mon Jan 21, 08 7:42 pm; edited 2 times in total

View user's profile Send private message Send e-mail Visit poster's website
Gman

Since 11 Feb 2006
4912 Posts
Portland
Unstrapped



PostMon Jan 21, 08 7:38 pm     Reply with quote

Great shots! That was crazy fun - wild watching everyone cruise around - got home and Dogtown and Z Boys was on the tube - a few more pics

   Tony.jpg 
   Doggies.jpg 
   Stringer da master.jpg 
   Chanson - One handed.jpg 

View user's profile Send private message
Kataku2k3

Since 14 Aug 2005
3755 Posts
PDX-LA
Videographer



PostMon Jan 21, 08 7:45 pm     Reply with quote

If I were to build a nice, decent size kicker, would anyone be down to hit it out there in the parking lot? Need to get some new photos. Smile

View user's profile Send private message Send e-mail Visit poster's website
Post new topic   Reply to topic    Northwest Kiteboarding -> Gorge / Portland / Oregon Coast All times are GMT - 8 Hours
Page 1, 2, 3  Next
Page 1 of 3

 
Jump to:  
You cannot post new topics in this forum
You cannot reply to topics in this forum
You cannot edit your posts in this forum
You cannot delete your posts in this forum
You cannot vote in polls in this forum
You can attach files in this forum
You can download files in this forum